Dans un premiers temps je perdais pratiquement une chenille ainsi que de la force dans le bras principal et le godet.
Après quelques temps j’ai finis par inversé les tuyaux sur la pompe principales.
Le problème se déplace vers lautres chenille puis tourelles et je récupère force bras et godet.
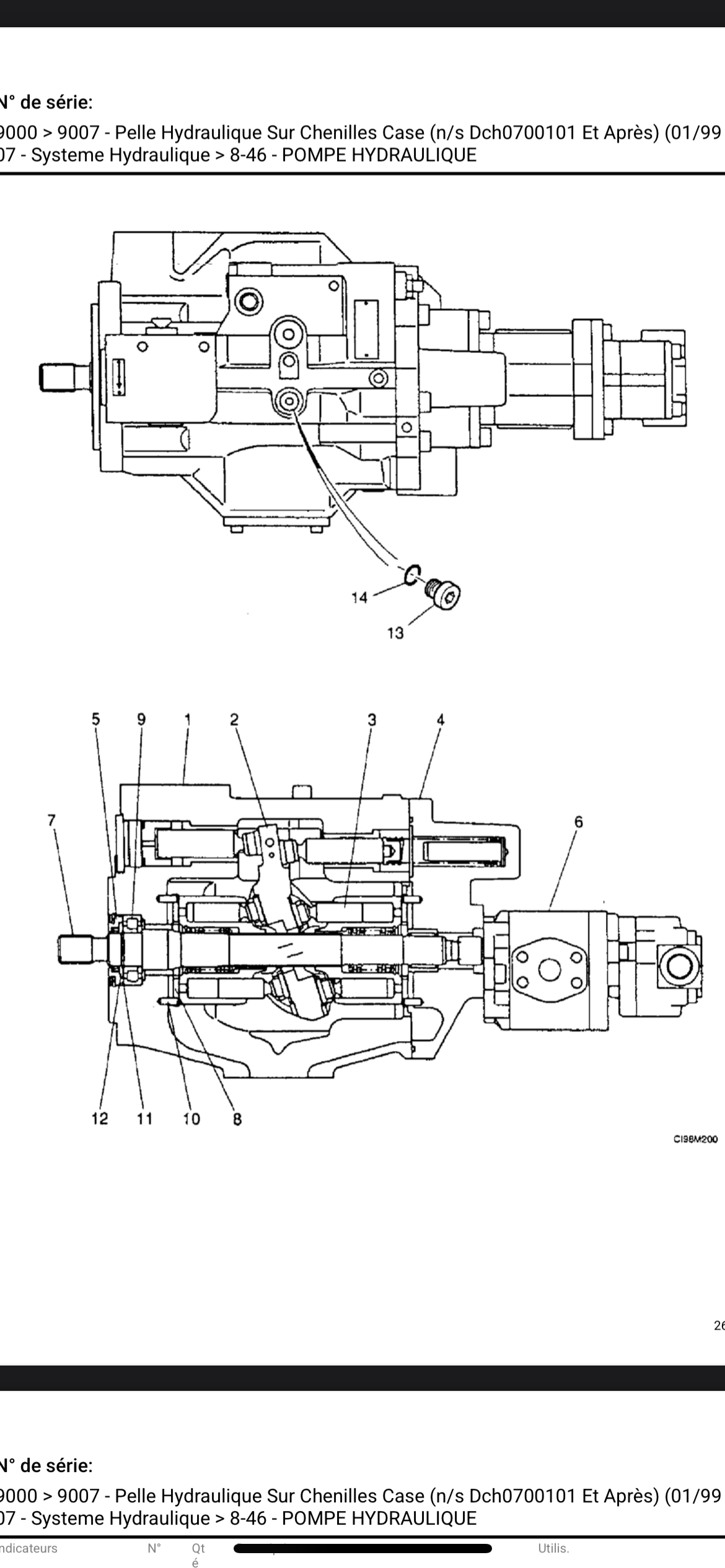
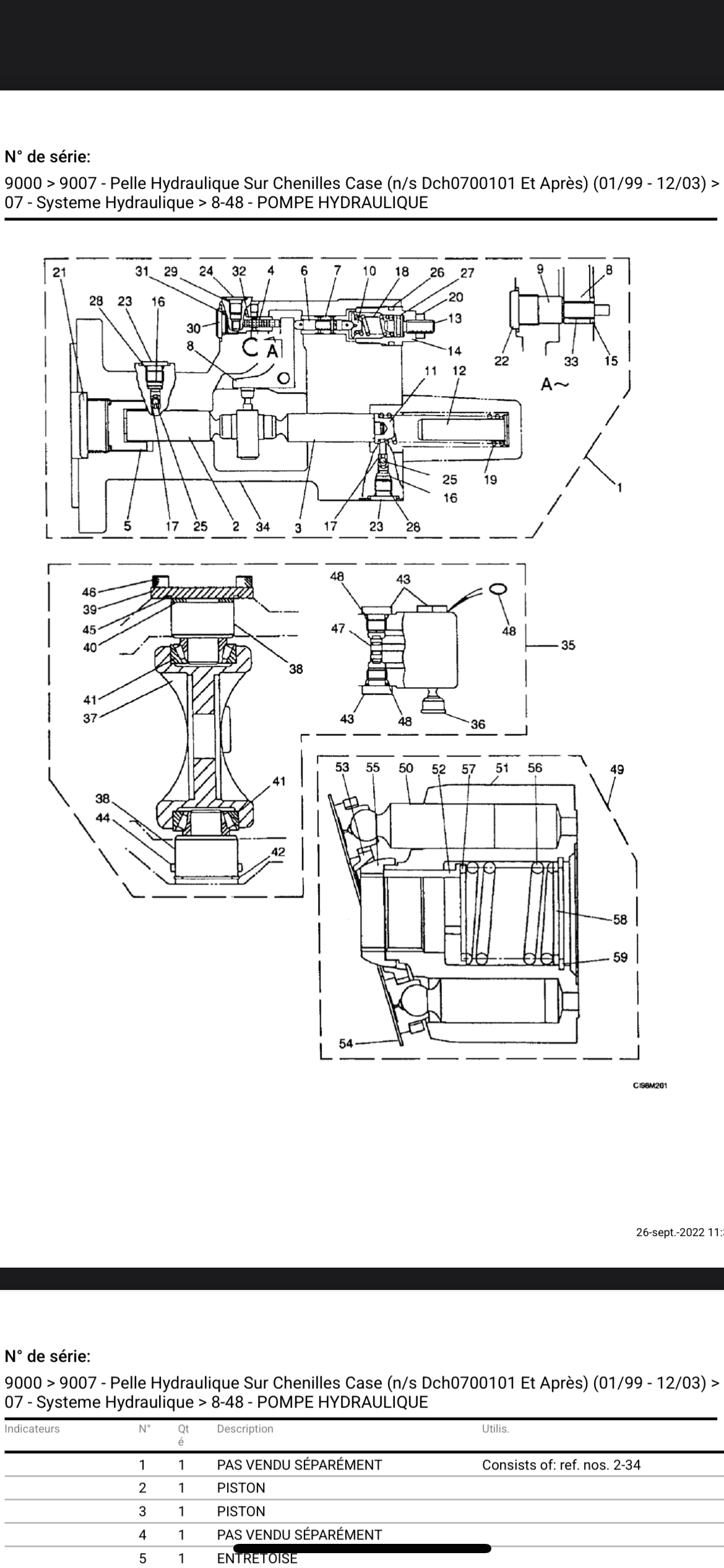
Je dépose donc la pompe là je trouve un roulement du balancier cassé et les plateaux en bronze rayé…
Je décide de faire refaire les pièces à la côte par des tourneurs fraiseurs.
Je remonte le tout et je me retrouve avec le même problème
L’es élément qui ont de la force me sortes une pression de 300 bars au mano
L’es élément qui manque de puissance me sorte environ 25 bars on dirait mais je suis pas sûr de l’endroit de ma prise de pression pour le deuxième « lot » d’équipement .
Je pensait à un problème de plateaux qui reste incliné dans un seul sens ?
Mais je n’ai pas trop compris comment la gestion de ce plateaux était réalisée…
En trouvant la pompe dans un sale état avec le corps de pompes complètement fichue je pensais avoir trouver la panne.
On a usiné le corps refait les deux piston de balancier fait traité les pièces ,refait les pièces en bronzes déglaçage de la culasses ect…
Et je me retrouve avec la même panne…
Une idée ?.


